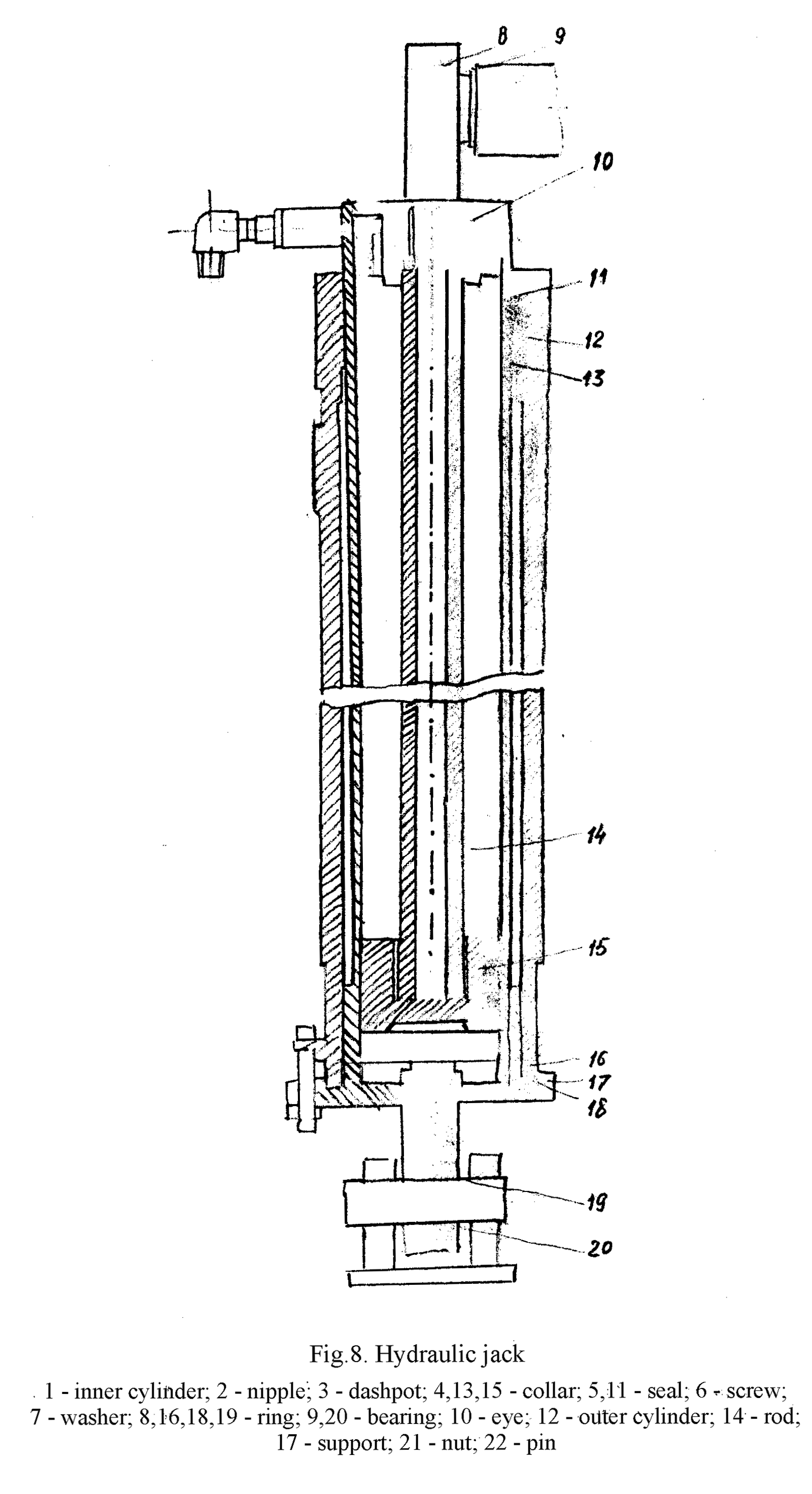
Домкрат гидравлический А50М.24/25.00.000


Описание
Домкрат гидравлический телескопический представляет собой гидроцилиндр двустороннего силового действия и предназначен для подъема и опускания мачты агрегата А50М.
На агрегатах УПА60/80 применяются также аналогичные домкраты с обозначением ГЦТ-2.60.160х1775.11


Характеристики
Диаметр цилиндров:
140 мм, 170 мм

Диаметр штока:
60 мм, 160 мм

Давление рабочей жидкости:
120 кг/см2

Рабочая жидкость:
масло минеральное “индустриальное”20 или 30 ГОСТ 20799-75



Комплект уплотнений, установленный в гидроцилиндре

Кольца ГОСТ9833-73:
185-190-36 - 1 шт.

Манжеты ГОСТ14896-84:
3-80х60 - 2шт.
3-190х160 - 2шт.
3-140х110 - 2шт.

Комплект уплотнений для ЗИПа поставляется по требованию заказчика за отдельную плату.